Stehkesselträger
Man unterscheidet Stehkesselträger für seitliche und Stehkesselträger für untere Auflagerung, je nachdem der Kessel zwischen den Rahmenwangen oder über den Rahmenwangen gelagert ist.
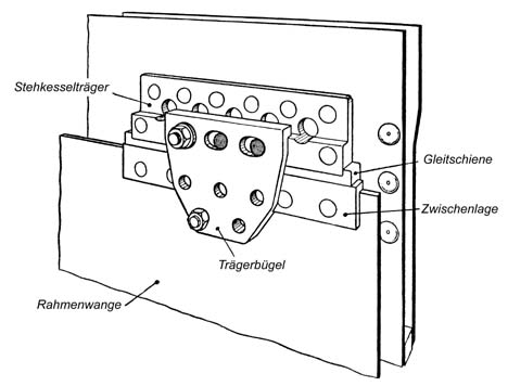
Liegt der Stehkessel zwischen den Rahmenwangen (Blechrahmen), so sind seitlich am Stehkessel längliche Stehkesselträger befestigt, die sich über eine Gleitschine und eine auf den Rahmen gesetzte Zwischenlage auf die Rahmenoberkante abstützen. Die Druckfläche der Rotgußgleitschine wird geschmiert und so die Beweglichkeit des Kessels in der Längsrichtung sichergestellt.
Um ein Abheben des Kessels vom Rahmen zu verhindern, ist der Stehkesselträger mit dem Rahmen durch einen Trägerbügel verbunden. Dieser Trägerbügel ist am Rahmen mit Schrauben unbeweglich befestigt. Er greift mit einer Kante über den Stehkesselträger und ist außerdem am Stehkesselträger mit Schrauben befestigt, die in Langlöchern des Bügels sich in waagerechter Richtung bewegen können. Dadurch kann der Stehkesselträger sich gegen den Trägerbügel um ein gewisses Maß entsprechend der Kesselausdehung verschieben.

Kesselträger für seitliche Auflagerung
Liegt der Stehkessel über dem Rahmen (Barrenrahmen), so sind an dem Bodenring Tragschuhe angeschmiedet, die sich über zwischengelegte Gleitplatten auf besondere Rahmenverbindungen zwischen den Rahmenwangen abstützen. Das Abheben des Kessels verhüten Klammern, die oben über die Tragschuhe und unten über den Ansatz der Rahmenverbindungen oder des Rahmens greifen.
Bei den Neubaulokomotiven (z.B. Baureihe 82) ruht die vordere Stehkesselwand mit Gleitschuhen auf dem Rahmen, das Abheben des Kessels verhüten in gleicher Weise wie oben beschrieben Klammern, die über Gleitschuh und Rahmen greifen. Die hintere Stehkesselwand ist durch ein Pendelblech mit dem Rahmen verbunden, wodurch das Schlingerstück mit der Keilnachstellung, das vielteilig und dem Verschleiß unterworfen ist, fortfallen kann.

Kesselträger mit Schlingerstück für untere Auflagerung (neuer Bauart)
Siehe auch
Kesselauflagerung.